注塑模具官网
您的位置 > 网站首页 > 新闻动态 > 技术知识
转载一种HP-RTM顶出结构的制作方法
HP-RTM模具小编22-06-16 10:15:17浏览4148次

转载一种HP-RTM顶出结构的制作方法(专利)

 

一种HP-RTM顶出结构的制作方法

一种hp-rtm顶出结构

技术领域

1.本实用新型属于注塑设备技术领域,尤其涉及一种hp-rtm顶出结构。

背景技术:

2.注塑模具中的塑料件在注塑成型后,通常要顶出结构(由顶针底板和顶针板带动顶杆)将塑料件顶出脱模,模具中设有供顶杆移动的顶针孔,通常顶针孔与顶杆间隙配合,间隙一般为0.03mm。

3.hp-rtm(high pressureresintransfer molding)是高压树脂传递模塑成型工艺的简称。它是指利用高压压力将树脂对冲混合并注入到预先铺设有纤维增强材料和预置嵌件的真空密闭模具内,经树脂流动充模、浸渍、固化和脱模,获得复合材料制品的成型工艺。

4.采用hp-rtm进行注塑时,树脂会进入到顶针孔与顶杆之间的间隙内,当间隙内的树脂固化后,顶杆无法移动,导致无法实现脱模。

技术实现要素:

5.本实用新型的目的在于提供一种hp-rtm顶出结构,以解决现有的顶出结构无法避免采用hp-rtm进行注塑树脂进入顶针孔,从而导致树脂固化难以实现脱模的问题。

6.为了达到上述目的,本实用新型的技术方案为:一种hp-rtm顶出结构,包括顶针底板、顶针板和顶杆,所述顶针板固定在顶板地板上,所述顶杆固定在顶针板上;模具内设有顶针孔,所述顶针孔包括竖直孔和锥形孔,所述顶杆能够在竖直孔内移动;所述锥形孔位于竖直孔的上方,所述锥形孔开孔面积小的一侧与竖直孔连通,所述锥形孔开孔面积大的一侧与模具表面平齐;所述锥形孔开孔面积小的一侧的面积大于顶杆顶面的面积;所述顶杆的顶部设有锥形块,所述锥形块能够将所述锥形孔封堵;所述锥形块能够完全位于所述锥形孔内并且锥形块的表面与模具表面平齐。

7.进一步,所述锥形孔内设有环形的安装槽,所述安装槽内安装有环形的密封圈。

8.进一步,所述顶针板、顶针底板和顶杆三者通过螺钉连接。

9.进一步,所述竖直孔与所述顶杆间隙配合。

10.进一步,所述间隙为0.03mm。

11.本技术方案的有益效果在于:本技术方案中,设置锥形孔、锥形块和密封圈,能够完全阻止树脂进入到顶针孔内并与顶杆发生固化,避免现有技术中无法脱模的情况。

附图说明

12.图1为本实用新型一种hp-rtm顶出结构的结构示意图;

13.图2为背景技术中顶出机构的结构示意图。

具体实施方式

14.下面通过具体实施方式进一步详细说明:

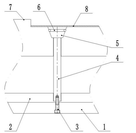
15.说明书附图中的附图标记包括:顶针底板1、顶针板2、螺钉3、顶杆4、锥形块5、密封圈6、模具7、产品8。

16.下面将结合本实用新型实施例中的附图,对本实用新型实施例中的技术方案进行清楚、完整地描述,显然,所描述的实施例仅仅是本实用新型一部分实施例,而不是全部的实施例。基于本实用新型中的实施例,本领域普通技术人员在没有做出创造性劳动前提下所获得的所有其他实施例,都属于本实用新型保护的范围。

17.实施例基本如附图1所示:一种hp-rtm顶出结构,用于将注塑产品8顶出,包括顶针底板1、顶针板2和顶杆4,顶针板2、顶针底板1和顶杆4三者通过螺钉3连接;模具7内设有顶针孔,顶针孔包括竖直孔和锥形孔(本实施例采用圆锥孔),顶杆4能够在竖直孔内移动;竖直孔与顶杆4间隙配合,间隙设为0.03mm。锥形孔位于竖直孔的上方,锥形孔开孔面积小的一侧与竖直孔连通,锥形孔开孔面积大的一侧与模具7表面平齐;锥形孔开孔面积小的一侧的面积大于顶杆4顶面的面积。顶杆4的顶部设有锥形块5,锥形块5能够将锥形孔封堵;锥形块5能够完全位于锥形孔内并且锥形块5的表面与模具7表面平齐。锥形孔内设有环形的安装槽,安装槽内安装有环形的密封圈6。通过设置锥形孔、锥形块5和密封圈6,能够完全阻止树脂进入到顶针孔内并与顶杆4发生固化,避免无法脱模的情况。

18.需要说明的是,在本文中,诸如第一和第二等之类的关系术语仅仅用来将一个实体或者操作与另一个实体或操作区分开来,而不一定要求或者暗示这些实体或操作之间存在任何这种实际的关系或者顺序。而且,术语“包括”、“包含”或者其任何其他变体意在涵盖非排他性的包含,从而使得包括一系列要素的过程、方法、物品或者设备不仅包括那些要素,而且还包括没有明确列出的其他要素,或者是还包括为这种过程、方法、物品或者设备所固有的要素。

19.以上所述的仅是本实用新型的实施例,方案中公知的具体结构及特性等常识在此未作过多描述,所属领域普通技术人员知晓申请日或者优先权日之前实用新型所属技术领域所有的普通技术知识,能够获知该领域中所有的现有技术,并且具有应用该日期之前常规实验手段的能力,所属领域普通技术人员可以在本申请给出的启示下,结合自身能力完善并实施本方案,一些典型的公知结构或者公知方法不应当成为所属领域普通技术人员实施本申请的障碍。应当指出,对于本领域的技术人员来说,在不脱离本实用新型结构的前提下,还可以作出若干变形和改进,这些也应该视为本实用新型的保护范围,这些都不会影响本实用新型实施的效果和专利的实用性。本申请要求的保护范围应当以其权利要求的内容为准,说明书中的具体实施方式等记载可以用于解释权利要求的内容。

技术特征:

1.一种hp-rtm顶出结构,包括顶针底板(1)、顶针板(2)和顶杆(4),所述顶针板(2)固定在顶针底板(1)上,所述顶杆(4)固定在顶针板(2)上;其特征在于:模具内设有顶针孔,所述顶针孔包括竖直孔和锥形孔,所述顶杆(4)能够在竖直孔内移动;所述锥形孔位于竖直孔的上方,所述锥形孔开孔面积小的一侧与竖直孔连通,所述锥形孔开孔面积大的一侧与模具(7)表面平齐;所述锥形孔开孔面积小的一侧的面积大于顶杆(4)顶面的面积;所述顶杆(4)的顶部设有锥形块(5),所述锥形块(5)能够将所述锥形孔封堵;所述锥形块(5)能够完全位于所述锥形孔内并且锥形块(5)的表面与模具(7)表面平齐。2.根据权利要求1所述的一种hp-rtm顶出结构,其特征在于:所述锥形孔内设有环形的安装槽,所述安装槽内安装有环形的密封圈(6)。3.根据权利要求1所述的一种hp-rtm顶出结构,其特征在于:所述顶针板(2)、顶针底板(1)和顶杆(4)三者通过螺钉(3)连接。4.根据权利要求1所述的一种hp-rtm顶出结构,其特征在于:所述竖直孔与所述顶杆(4)间隙配合。5.根据权利要求4所述的一种hp-rtm顶出结构,其特征在于:所述间隙为0.03mm。

技术总结

本实用新型属于注塑设备技术领域,具体公开了一种HP-RTM顶出结构,包括顶针底板、顶针板和顶杆,顶针板固定在顶板地板上,顶杆固定在顶针板上;模具内设有顶针孔,顶针孔包括竖直孔和锥形孔,锥形孔位于竖直孔的上方,锥形孔开孔面积小的一侧与竖直孔连通,锥形孔开孔面积大的一侧与模具表面平齐;锥形孔开孔面积小的一侧的面积大于顶杆顶面的面积;顶杆的顶部设有锥形块,锥形块能够将锥形孔封堵;锥形块能够完全位于锥形孔内并且锥形块的表面与模具表面平齐;锥形孔内设有环形的安装槽,安装槽内安装有环形的密封圈。上述结构,通过设置锥形孔、锥形块和密封圈,能够完全阻止树脂进入到顶针孔内并与顶杆发生固化,避免无法脱模的情况。模的情况。模的情况。

技术研发人员:康荣昌 汪义高 杨洁萧 黄煜 李涛 樊帅

受保护的技术使用者:重庆江东汽车零部件有限责任公司

技术研发日:2021.10.29

技术公布日:2022/3/16

相关新闻
  • 浏览移动端官网
版权所有 © 星空体育登录网页入口 All RIGHTS RESERVED
浙ICP备10215523号-3